• 手机看片福利永久,手机在线看片,手机福利看片,手机看片午夜福利

    旋轉手机在线看片 1 2 3
    熱門關鍵詞: 手机福利看片係列、 冷卷法蘭係列、 橡膠接頭管係列
    聯係手机看片福利永久查看更多+

    地 址: 河南省鞏義市西村工業區

    聯係人: 龐經理

    手 機: 15617617287

               15038001853

    E_mail: gyltgd@126.com

    網 址: http://www.runshicc.com/

    http://www.gyltgdc.com/

    伸縮接頭係列

    SSJB(AY)型壓蓋式鬆套伸縮接頭

    SSJB(AY)型壓蓋式鬆套伸縮接頭是在鬆套伸縮接頭原有性能的基礎上,增設限位裝置,在壓蓋式鬆套限位伸縮接頭最大伸縮量處用雙螺母鎖定。這樣就實現管道在允許的伸縮量中可以自由伸縮,一旦超過壓蓋式鬆套限位伸縮接頭最大伸縮量,就起到限位,這樣就有效的確保壓蓋式鬆套限位伸縮接頭管道的安全運行,特別適用於有震動或有一定斜度及在拐彎的管路中的選擇。

    全國24小時銷售熱線:15617617287

    性能特點:
    SSJB(AY)型壓蓋式鬆套伸縮接頭是在鬆套伸縮接頭原有性能的基礎上,增設限位裝置,在壓蓋式鬆套限位伸縮接頭最大伸縮量處用雙螺母鎖定。這樣就實現管道在允許的伸縮量中可以自由伸縮,一旦超過壓蓋式鬆套限位伸縮接頭最大伸縮量,就起到限位,這樣就有效的確保壓蓋式鬆套限位伸縮接頭管道的安全運行,特別適用於有震動或有一定斜度及在拐彎的管路中的選擇。

                     

    安裝注意事項:
    SSJB(AY)型壓蓋式鬆套伸縮接頭適用於兩邊與管子插接,無需焊接,機構合理,密封可靠,安裝快捷方便。

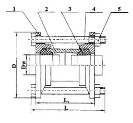
    SSJB(AY)型壓蓋式鬆套伸縮接頭材料表

    序號 名稱 數量 材料
    1 壓蓋 2 QT400-15、Q235A、ZG230-450、1Cr13、20
    2 套筒 1 Q235A、20、16Mn、1Cr18Ni9Ti
    3 密封圈 2 NBR、CR、FPM、NR
    4 螺柱 n Q235A、35、1Cr18Ni9Ti
    5 螺母 n Q235A、20、1Cr18Ni9Ti

    SSJB(AY)型壓蓋式鬆套伸縮接頭基數據表

    公稱通徑DN 管子外徑DW 外形尺寸 n-Th
    L1 L D 0.25-1.6Mpa 2.5-6.4Mpa
    65 76 180 208 155 4-M12 4-M12
    80 89 165
    100 108 190 4-M16
    114 195
    125 133 215
    140 225
    150 159 220 245 4-M16 6-M16
    168 255
    200 219 310
    250 273 223 375 6-M20 8-M20
    300 325 220 273 440
    350 355 470 8-M20 10-M20
    377 490
    400 406 520
    426 540
    450 457 570 10-M20 12-M20
    480 590
    500 508 625
    530 645
    600 61O 730
    630 750
    700 720 850 12-M20 14-M20
    800 820 290 355 965 12-M24 16-M24
    900 920 1065 14-M24 18-M24
    1000 1020 1165
    1200 1220 1365 16-M24 20-M24
    1400 1420 377 1590 18-M24 24-M27
    1500 1520 1690
    1600 1620 1795 20-M27 28-M27
    1800 1820 2000 22-M27 32-M30
    2000 2020 2200 24-M27 32-M30
    2200 2220 400 2420 26-M30  
    2400 2420 2635 28-M30
    2600 2620 400 2835 30-M30
    2800 2820 3040 32-M33
    3000 3020 3240 34-M33
    3200 3220 3440 36-M33
    3400 3420 490 3640 38-M33
    3600 3620 3860 40-M33

    上一篇:GFJH型雙法蘭鋼複接頭 下一篇:焊接式伸縮接頭
    網站地圖